Залиште свій номер и ми Вам зателефонуємо
Залишити заявку
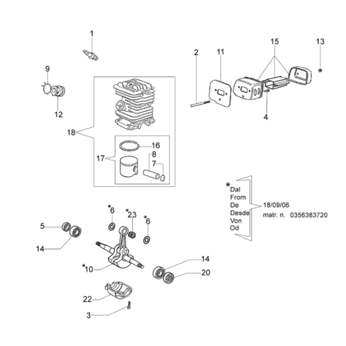
Поршень в комплекте бензопилы.
Используется в бензопилах OLEO-MAC 940, EFCO 140.
►схема - 1 ► номер детали - 17.
Диаметр поршня 40мм . Поршень комплектуется двумя кольцами. В комплекте поставки: цилиндр, поршень, кольца поршневые, палец, стопорные кольца пальца.Производитель компания EMAK - Италия.
Качество: оригинал.
Поршень EMAK бензопилы OM 940, 40мм
- Производители EMAK
- Модель:50060027A
- Наличие:Нет в наличии
-
0.00 грн
